客服QQ:30306612
聯(lián)系電話:0731-58226518
0731-58228068
傳真號碼:0731-58226518
聯(lián)系地址:湘潭市岳塘區(qū)芙蓉中路19號湖湘林語錦繡新城綜合樓1、2區(qū)04014號房(中信銀行前棟后四樓)
公司網(wǎng)址:m.jinmaow.com

模板下載:
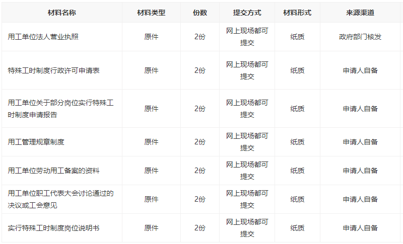
用工單位關(guān)于部分崗位實行特殊工時制度申請報告(示范文本)
湖南省湘潭市岳塘區(qū)湖湘南路1號湘潭市民之家北棟1樓A217; ![]()
法定工作日,夏季(10月01日~次年06月30日):上午 09:00~12:00,下午 13:30~17:00;全年,夏季(07月01日~09月30日):上午 09:00~12:00,下午 13:30~17:00;